永續發展是ESG其中一個重要的議題,也是中華民國政府努力接軌國際並鼓勵廠商藉此創新的目標。在減塑的趨勢下,針對吸管與杯蓋的部分,許多廠商改用了玉米纖維或紙材來取代,另外,還有人改成了可食用材質。
針對可食用吸管的部分,除了吸管本身有人申請專利,吸管的製造設備也有人申請專利。例如,TW M597095一案為使用糖或巧克力作為原料,以製造可食用、環保與價格低廉的吸管。又例如,TW I676446B一案為使用澱粉、微膠囊與食用蠟來製成的吸管。TW M597095一案因為後面未繳年費而失效,該技術已經是公共財,但TW I676446B一案除了發明人自身透過新聞宣傳其技術外,其專利範圍並不小,且年費持續有效到2025年11月10日。
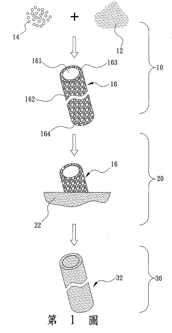
TW I676446B的獨立項範圍為「一種輕量可食用吸管,將澱粉(12)與微膠囊(14)按照一定比例混合成一根本體(16);透過脫水或乾燥等方式之一,該本體(16)保持中空的結構體,該結構體是管壁,投入蠟液(22)中;該蠟液(22)對本體(16)產生浸潤效果,完成固態兼具輕盈、食用等特性的吸管(32)。」。簡單地說,使用澱粉、微膠囊與食用蠟來製成的吸管都會落入其範圍,因此,對於製造可食用吸管的廠商來說,必須特別地注意該篇專利。
























