
法拉利偷學馬斯克噴射推進?
你以為只有馬斯克先生那個"劃時代的發明家"才能想到在電動車上加裝推進系統?Well,現在的Ferrari也加入這場"氣動推進"革命了!日前,這家義大利跑車製造商向外界公開了一項驚世騷人的全新專利技術,儼然是對特斯拉執行長馬斯克先生當年所提"空氣推進"概念的延伸發展,令人期待這項點子終於能在量產車型上成真。
近日,義大利著名跑車製造商Ferrari向外界展示了一項前所未見的創新專利技術,這項技術被認為能夠大幅提升超級跑車的操控性能。該專利描述了一種嶄新的"氣體推進系統"。

專利解密-高壓噴射原理
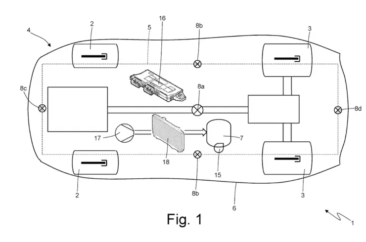
通過在車輛不同部位安裝多組小型推進噴嘴,以高達13,000PSI的壓縮空氣或脈衝噴射引擎產生推力,從而增加下壓力、加速度和制動力。這項看似瘋狂的想法,實際上早在幾年前就被特斯拉執行長馬斯克所提及。不同的是,Ferrari的系統更加複雜和精密,專利文件中對此作了詳細解釋。

智能多噴嘴設計,推力恆定可控
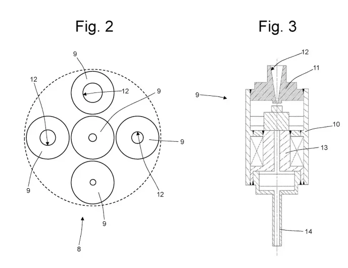
該系統在車身各處裝有多組"推進器",每組推進器由5個不同尺寸的小型噴嘴組成。當系統內的壓縮空氣或燃料處於最高壓力狀態時,會優先使用最小口徑的噴嘴釋放推力,而隨著壓力逐漸下降,系統會自動切換至較大口徑的噴嘴,以保持推力輸出的恆定性。
噴流效應造就"空力增壓"
這種設計的關鍵在於,通過精心控制不同噴嘴的開合時序和組合,可以精準調節推力的大小和持續時間,使這股外加的"反作用力"能夠按需被高效利用。更具創意的是,它能透過在車身下方噴出高速氣流,借助地效原理人為製造出向下的空力加壓,提供額外的下壓力,從而獲得更佳的抓地力和更高的極限過彎能力。

脈衝引擎選項 超跑性能飆升
最為驚人的細節是,Ferrari專利中還透露了一種可選的動力來源:不使用壓縮空氣,而是採用噴射汽油的小型脈衝引擎作為推進器!這無疑將使整個系統的操作變得更為能源密集型,但卻也體現了Ferrari工程師對於追求性能極限的決心。
理想與現實仍存隔閡
當然,要讓這套系統真正量產並搭載在量產車上,勢必還有重重困難需要克服。首先是整套系統的複雜度和製造成本都極為高昂;其次是噪音控制可能成為一大挑戰;此外如何在有限的車身空間內安裝這麼多推進器同樣是一大難題。
不過,這項專利代表了未來某些令人矚目的技術可能,雖然最終能否實現仍有待觀察,但有意思的點子往往會成為未來技術發展的催化劑。總的來說,通過這項專利,我們可以一窺Ferrari對於跑車操控性追求的決心,以及他們不斷嘗試突破傳統框架的創新精神。讓我們期待在不久的將來,Ferrari能為我們帶來更多令人驚艷的新穎技術。

馬斯克推進構想獲Ferrari重視發展
這項看似瘋狂的想法,實際上早在幾年前就被特斯拉執行長馬斯克所提及。不同的是,Ferrari的系統更加複雜和精密,並且專利文件中對細節作了詳細解釋,充分說明了這家老牌車企對這一革命性點子的重視和信心......
理想與現實仍有距離,但別被低估
當然,要讓這套系統真正量產並搭載在量產車上,勢必還有重重困難需要克服......
不過,我們絕不能低估了這些傳統車企學習和吸收新事物的能力。就在幾年前,還有多少人會相信像Ferrari這樣的老牌跑車品牌,有朝一日也會推出混合動力或純電動車型?事實上,他們現在都這麼做了,而且做得相當不錯。
因此,馬斯克先生提出的許多"瘋狂點子",很可能在未來幾年內就會被業內其他人認真吸收並加以實踐優化,最終服務於大眾消費者。這項專利也許就是一個佐證。期待Ferrari和特斯拉,能在未來為我們帶來更多令人驚艷的全新體驗。






















